Специальные условия для монтажных организаций
Характеристики
Производитель
—
LABEL SPA
Марка
—
LABEL
Цена розничная, указана в рублях в т.ч. НДС 22%, действительна только для электронного каталога и может отличаться от фактической цены продажи. Специальные цены для монтажных организаций. Не является публичной офертой.
Описание
Ролик натяжной ремня MPS0011 для электроприводов автоматических дверей LABEL серии MARVEL, EVOLUS.

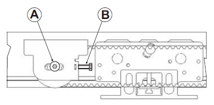
А - болт затяжки
В - болт регулировки
Для регулировки натяжения ремня следует слегка ослабить болт А холостого шкива, затем завинтить (для натяжения) или отвинтить (для ослабления) болт B. Отрегулировав нужное натяжение, плотно завинтить винт A.
Галерея
0
фото —
1/0
—
В заказВ заказе
Специальные условия для монтажных организаций
Характеристики
Производитель
—
LABEL SPA
Марка
—
LABEL
Цена розничная, указана в рублях в т.ч. НДС 22%, действительна только для электронного каталога и может отличаться от фактической цены продажи. Специальные цены для монтажных организаций. Не является публичной офертой.
Нужна консультация?
Наши специалисты ответят на любой интересующий вопрос
Задать вопрос

